现在,博视像元的产物已普遍使用于半导体、新能源、消费电子等高端范畴,已取多门第界500强企业及20余家全球抢手行业头部客户告竣正式发卖订单,取半导体、新能源范畴的多门第界级头部企业成立了独家定制或深度计谋合做关系。
做为按照决策摆设,经国务院核准设立的国度级投资基金,中国互联网投资基金由地方网信办和财务部配合倡议。

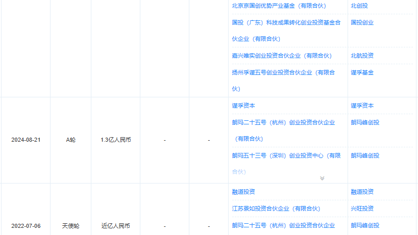
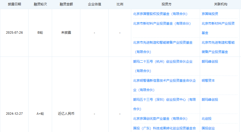
这已是博视像元本年第二次斩获“国度队”级本钱支撑。本年7月,博视像元获得了市三大市属财产基金—先辈制制基金、新材料基金和京国管就已接踵注资。持续获得国度队和市属财产基金的,将为博视像元的环节焦点手艺攻关、前沿科技研发和国表里市场拓展供给强无力的资金支撑和资本保障。
正在朱江兵率领下,博视像元依托于高端焦点影像部件,对准机械视觉范畴“卡脖子”难题,走出了一条国产替代的突围之。该公司打制了笼盖布局光3D相机、高端2D相机、DLP工业投影、线阵TDIDUV相机、SWIR相机、智能相机等多品类的成熟产物线。像首台国产CoaXPressCXP-12Repeater、国内首个研发出半导体前道检测的深紫外超高速TDI相机和深紫外面阵相机、国内首个满脚半导体后道的亚微米级的3D相机,都是出自博视像元。
再叠加客岁12月国投创业、北创投从导的近亿元A+轮融资,以及中芯聚源、谨孚本钱、北航投资等出名机构的前期押注,这家企业已建立奢华背书矩阵。而持续涌入的资金,正为其焦点手艺攻关、前沿产物研发和全球市场拓展注入强劲动力。
机械视觉是智能制制的“工业之眼”,高端焦点影像部件决定工业检测精度、出产效率取智能化程度,更是破解高端制制“卡脖子”的环节。
本年9月,博视像元“8K1MHz深紫外TDI线年第三批首台(套)严沉手艺配备目次(半导体范畴),并获得认证证书。这是首台被国度明白认定为“半导体量测设备环节零部件”的半导体相机,标记着半导体相机类产物正在集成电制制环节环节中的焦点地位初次获得国度级承认,填补了该细分范畴国度级自从化认证的空白。

博视像元成立于2022年,专注于高端机械视觉手艺研发取产物制制,是市“专精特新”中小企业。博视像元带有十脚的“科学家”属性。其创始人恰是机械视觉范畴的手艺型专家朱江兵。朱江兵具有丰硕的行业经验,曾先后正在中国机械视觉的龙头企业大恒科技、工业配备制制龙头博众精工饰演焦点脚色,手艺开辟、产物设想到施行落地的全流程经验。

制制业智能化提速,叠加半导体、新能源等下逛财产对检测需求的升级,国内机械视觉市场正送来迸发式增加,成为智能制制焦点增加极。